文/集佳知識產權代理有限公司 路偉廷
對于一份專利申請而言,我們首先要確定其要保護的主題,在確定了主題之后,才能夠圍繞該主題進行權利要求的撰寫。換言之,主題指引著整個申請文件的方向,是整個申請文件的基石,主題的確定是申請文件撰寫的基礎步驟,也是值得深思的一步。
從主題所涉及的對象或者說從主題所涉對象包括的部件多少來看,主題分為大主題和小主題,實際上,大主題和小主題是相對而言的,兩者是包含與被包含的關系。本文以案例為依托,擬從權利要求的布局以及清楚的角度,對大主題與小主題的撰寫進行闡述。
從保護范圍上看,小主題對應大范圍,大主題對應小范圍,因此,在代理實踐中,如果發明點所涉及的對象能夠構成專利意義上的產品,通常會選擇小主題,然后再根據需要選擇是否撰寫大主題。但是,有些情況下,小主題的撰寫中需要引入大主題的部分結構,而在撰寫大主題時又有可能需要進一步限定小主題中引入的屬于大主題的部分結構,此時就存在由于大主題與小主題的對應所導致的清楚問題。 以下結合案例,對撰寫大主題與小主題時各部件之間的關系處理進行說明。

圖1

圖2
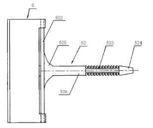
在一個典型案例中,大主題是墻板的錨固裝置,小主題是錨固裝置中的錨固扣件,如上圖1和圖2所示,其中,上圖1為錨固裝置的典型結構,圖2為圖1中錨固扣件6的結構示意圖。如圖1所示,錨固裝置包括錨栓5和錨固扣件6,錨固扣件6大致呈幾字型,該幾字型的兩側壁分別與兩塊待拼接的墻板的側面抵靠,并以幾字型的撇和鉤形成扣耳,搭扣于墻板的邊沿,實現對拼接墻板的預定位;然后,可以通過錨栓5貫穿錨固扣件6而錨固在墻體上,實現墻板的定位。
如圖2所示,本申請的錨固扣件6的特征就在于包括兩個套件,即包括幾字型的外扣件和套在外扣件內的U字型的內襯件,并通過外扣件實現與墻板的連接,通過內襯件提供連接所需的強度。
針對上述技術方案,在進行錨固扣件的權利要求撰寫時,需要給出扣件的具體方案,由于扣件的某些結構是與錨栓配合的,因此引入了錨栓的部分結構,而在撰寫錨固裝置的權項時,又需要給出錨栓的具體方案。
那么,大主題和小主題中均提到了錨栓,這就牽涉到大主題與小主題中對于錨栓的描述詳盡度是否處于同一層級的問題。如果處于同一層級,在小主題中如何對錨栓進行說明,以防止小主題的保護范圍涵蓋大主題的部件,如果不處于同一層級,如何前后對應、避免出現不清楚的問題。
首先看第一個問題,如果大主題與小主題對于錨栓的描述詳盡度處于同一層級,則在小主題中,可以采用“錨固扣件設有錨栓的連接通孔”等描述方式。一方面,由于錨栓與錨固扣件配合屬于本領域的公知常識,這就如同螺栓與螺帽的關系一樣明確,不需要過多的交代;另一方面,被限定的對象依然是錨固扣件,引入錨栓只是為了對錨固扣件的連接通孔進行限定,不會因錨栓的使用而給錨固扣件額外增加小主題以外的特征。但是,即使需要交代錨栓與錨固扣件的關系,也應該慎重考慮“所述錨固扣件還包括錨栓”這種描述方式,這種描述方式實際上引入了小主題以外的部件,隱含更改了對錨固扣件的定義,打破了小主題與大主題的布局。也就是說,在小主題的撰寫時,主語盡量放在小主題所涉及的對象或者更為下位的對象,盡可能避免引入小主題以外的其他部件。
然后看第二個問題,也是本文要重點討論的問題。實際上,錨固裝置的錨栓5又可以分為膨脹型錨栓和非膨脹型錨栓。當錨栓為膨脹型錨栓時,具體包括膨脹套管52和膨脹釘(在圖1中沒有示出,即圖1為沒有安裝膨脹釘的狀態)。此時,錨固扣件6就需要設置供膨脹釘穿過的連接通孔;同時,為更好地實現兩墻板的連接,錨固扣件的寬度越小越好,而寬度過小會影響膨脹釘的安裝,此時就需要在幾字型的兩側壁設置缺口等用于容納膨脹釘的釘帽的結構,如圖2所示。
代理人在撰寫小主題的權項時,為了描述圖2中錨固扣件的結構,采用了“供膨脹釘穿過的連接通孔”以及“用于容納膨脹釘的缺口”等描述。在撰寫大主題的權項時,采用了“錨固裝置包括相互配合的錨栓和錨固扣件”的描述,并在從屬權利要求中進一步限定了“錨栓為膨脹型錨栓時包括膨脹套管和膨脹釘”的描述。
單獨的看,小主題和大主題中的技術方案描述都是清楚的,但是,由于大主題引用了小主題中任一項所述的錨固扣件,這就使得錨栓、膨脹釘以及大主題中的膨脹釘、膨脹套管的關系存在不清楚的問題。
為解決不清楚的問題,存在以下幾種解決方案:
1、在小主題中引入錨栓,增加“還包括錨栓,錨栓包括膨脹釘和膨脹套管”,但這種方式在小主題中引入了屬于大主題的部件,會影響小主題的保護范圍,破壞大主題與小主題的布局;
2、在大主題的獨立權利要求中直接把錨栓的結構寫清楚,而不是在從屬權利要求中限定,但這種方式在大主題中排除了采用非膨脹型錨栓的技術方案,縮小了大主題的保護范圍;
3、在小主題中對錨栓進行說明,但避免引入錨栓,可以增加“錨固扣件通過膨脹型的錨栓與墻板連接,錨栓包括膨脹釘”等類似描述,以寫清楚錨栓與膨脹釘、膨脹釘與錨固扣件、以及錨栓與錨固扣件的關系,避免前后不對應存在不清楚的問題。
綜上,當大主題與小主題中都需要使用某一部件時,對該部件的描述詳盡度要處于同一層級,如果不屬于同一層級,要下位處理到同一層級,避免出現上下位概念導致的不清楚問題。同時,還要注意在小主題中對屬于大主題的部件進行描述時的措辭,避免小主題中涵蓋大主題的部件而影響保護范圍,使得大主題與小主題的邏輯含糊不清。